Our Profiles

Our skilled team of professionals prioritizes precision and quality, ensuring every piece of trim meets our high standards.

  • Bead Board
  • Miscellaneous T&G
  • T&G V-Groove
  • T&G Gap-No Gap
  • Shiplap
  • Hand Rails
  • Cap Rails
  • Dental
  • Coves
  • Miscellaneous
  • 5.125 – 7 inches
  • 3.125 – 5 inches
  • 7.125 – 8.813 inches
  • Mantle Mouldings
  • WM Crowns
  • 1.5 – 3.0
  • AWI Crowns
  • 8.813 + two piece
  • Base Detailed with sharp lines
  • Base Detailed with soft lines
  • Base WM Profiles
  • Base Simple with sharp lines
  • Base Two piece
  • Base with Beads
  • Casing with Flutes
  • Detailed with Sharp Lines
  • Detailed with Soft Lines
  • Casing with Beads
  • AWI Profiles
  • WM Profiles
  • Shelf and Top Edging
  • Mantle
  • Ogees
  • Rounds, Half-rounds, Quarter-rounds
  • Chair Rails
  • Coves and Corner Beads
  • Cabinet Door Rails and Pulls
  • Cap Mouldings
  • Inside Corners
  • Drop Moulding
  • Flutes
  • WM Profiles
  • Plant-on Mouldings
  • Mantle
  • Picture Rails
  • Chair Rails
  • Cap Mouldings
  • Inside Corners
  • Miscellaneous
  • Glass Bead
  • Loading...
  • No profiles found

    Contact us to make it for you

Loading profiles...

  • 70712

    5.000 in x 0.750 in x 0.438 in - T&G V-Groove Paneling

  • 70713

    4.000 in x 0.750 in x 0.250 in - T&G V-Groove Paneling

  • 70702

    Width varies x 0.313 in x 0.250 in - T&G V-Groove Paneling

  • 70700

    Width varies x 0.750 in x 0.438 in - T&G V-Groove Paneling

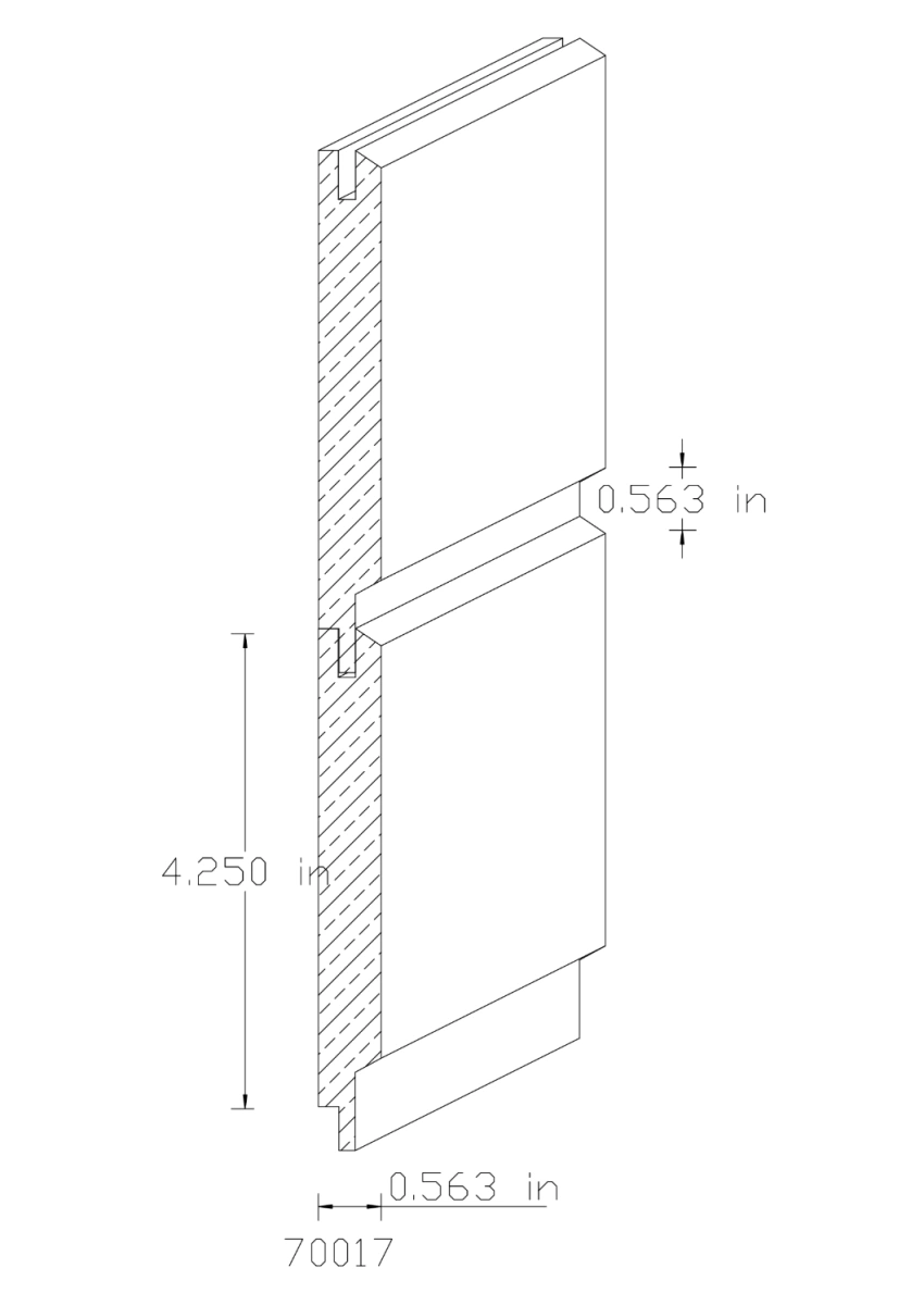
  • 70017

    4.250 in x 0.563 in x 0.563 in - T&G V-Groove Paneling

  • 70016

    3.000 in x 0.688 in x 0.563 in - T&G V-Groove Paneling